
作者/质子
编辑/嘉嘉
近日,康迪官宣旗下子公司杭州了望塔科技有限公司将为印尼最大数字生态GoTo集团提供3台机器人用于测试和创新。康迪方面称:该笔订单的达成标志着康迪在东南亚市场的战略性拓展迈入新阶段。
其实对于康迪来说,GoTo集团仅3台的订单量关系到公司未来的转型,当高尔夫球场电车、卡丁车这类非公路车在北美遇冷时,康迪在“稳健现金流业务”同时,更要发展具身机器人、储能这类“增长孵化业务。
愿望很美好,赛道也很有前景,但在司库财经看来,康迪新战略转型能否成功转型的背后,不仅是康迪自身的战略意愿,更要看到自身储备和友商们肌肉和实力的对比。在此我们不禁怀疑:康迪此时入局是否已晚?
【1】双轮驱动新战略
“2025年上半年,全球宏观经济环境依然面临诸多不确定性,且这一趋势对我们业务的发展带来了不小的挑战”,对于2025年上半年的经营业绩,康迪科技CEO陈峰不无忧虑,认为康迪需要在稳固现有业务的同时,寻找新赛道。
据康迪财报数据显示:2025年上半年,康迪总净收入为3630万美元、净利润为170万美元,相较于去年同期分别下降39.3%、29.2%。
康迪业务上的不景气,不仅反映在营收利润的下降幅度上,更是能效。据同花顺数据显示:目前康迪共有739名员工,按照半年170万美元净利润计算,2025年上半年康迪人均创造的净利润仅为0.23万美元,折算为383美元/人/月。

(来源:同花顺)
业绩上的缩减,让康迪变得不再“小而美”,而是“小而危”,康迪需要找到自己的第二增长曲线。
“我们积极布局具身智能与新能源换电基础设施等新兴科技领域,推动多项重要合作落地,为长期发展奠定坚实基础”,陈峰更是直接表示,储能和具身机器人将是康迪押注的主赛道。
而今年上半年,康迪改名,将康迪车业改名为康迪科技,并与国内外多家厂商签署了合作协议:
6月,康迪与云深处合作,双方共同开发满足北美市场特定安防需求的巡检四足机器狗解决方案、给北美乃至全球市场提供极具产品优势的高尔夫智能装备;
8月,康迪全资子公司中中换电(浙江)科技有限公司与宁德时代签署《框架采购合同》,成为宁德时代换电站设备供应商;
9月,康迪子公司杭州了望塔科技有限公司将为印尼最大数字生态GoTo集团提供三台机器人用于测试与创新;
从6月至9月康迪的动作中我们不能推测,康迪在具身机器人领域和储能领域将采取完全不一样的措施,储能领域将自己定义为上游零部件供应商,在具身机器人领域则是将自己定义为厂商。
同样是新兴领域,采用不同的策略原因很简单——康迪是做电动全地形车,在能源方面有一定技术积累,所以能够为宁德时代提供技术服务。
相反具身机器人涉及到减速器、机械臂等,康迪能够通过零部件采购实现系统整合,开发出针对高尔夫球场等特定环境中的机器人。
【2】康迪有没有金刚钻
其实不论是具身机器人还是储能市场,都有着巨大的市场空间和增长前景。
据瑞银证券中国机械行业分析师王斐丽预计:到2035年,全球人形机器人数量或超过200万台,到2050年或超过3亿台。具体在市场采购规模上则更大,2035年全球潜在市场空间为300亿美元到500亿美元,2050年有望达到1.4万亿美元到1.7万亿美元。
而储能行业市场前景同样乐观。
工业和信息化部装备工业发展中心发布的《新型储能技术发展路线图(2025—2035年)》中明确了储能行业的时间节点:新型储能产业将全面市场化发展,2030年全国新型储能装机超过2.4亿千瓦;2035年,全国新型储能装机超过3亿千瓦。
产业在加速落地,具身机器人业务和储能整个产业链上都大有可为,但问题是:市场火热,康迪究竟能不能从中分得一杯羹?能不能抓住新兴产业的风口?
商业上的美好蓝图不取决于愿景,而在于康迪有没有为储能和具身机器人做好了充足的准备。
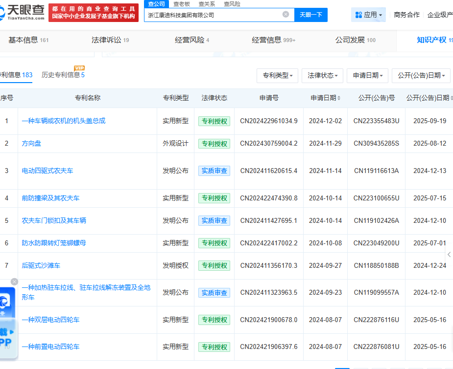
司库财经在天眼查中发现,目前康迪共有183条专利信息,但这些专利中多数为车辆相关专利,如“一种车辆或农机的机头盖总成”“电动四驱式农夫车”“一种双层电动四轮车”“一种加热驻车拉线、驻车拉线解冻装置及全地形车”……
康迪专利中与“机器人”“储能电池“相关的专利信息几乎没有。

(来源:天眼查)
而在康迪官网上,“美国康迪及产品”板块中,其产品信息中展示了高尔夫球场电车、电动摩托车、电动自行车,并未看到有机器人或是储能相关产品的图片及介绍。
另外从康迪与云深处、宁德时代的合作项目中我们也能窥见一些端倪:
康迪与云深处的合作是“开发满足北美市场特定安防需求的巡检四足机器狗解决方案、给北美乃至全球市场提供极具产品优势的高尔夫智能装备”,目前云深处已经拥有完整的四足机器狗全套的产品和技术,康迪拥有北美地区的销售渠道和对于高尔夫球场场景的理解能力。
“康迪在北美拥有成熟的销售网络(包括上千家零售门店)和本土化生产和运营团队(如德克萨斯州工厂),这能帮助大厂的产品快速落地北美市场,并规避一些贸易风险”,北京市炜衡律师事务所合伙人李可书表示,双方各取所需。
现阶段双方是互补,但是未来云深处一旦打通了北美销售渠道,对高尔夫球场场景有了理解力,那么对于云深处而言,与康迪合作是否还有商业上的价值?或者康迪日后还能给云深处带来什么价值?毕竟营销渠道好建立,但专利产品需要时间和技术积累。
此外康迪成为宁德时代换电站设备供应商项目上也有类似情况,第一财经报道显示:换电站设备包括集装箱、电池、机械臂、液压举升机等设备,其中最大设备成本是电池,占到总成本的40%-50%,而宁德时代本身就是电池厂商。另外与宁德时代合作发力换电站的不只是康迪,还有蔚来、中石化等十多位合作伙伴。
鉴于康迪的技术储备,和云深处、宁德时代双方合作内容上看,如果未来这些合作执行不力,对康迪来说不是转型推力,反而是阻力。
“合作执行不力意味着前期投入的研发资源、人力成本和时间机会成本可能无法获得预期回报,从而拖累整体转型步伐”,李可书建议,与宁德时代和云深处的合作是康迪转型的重要抓手,但并非全部。公司整体是向着“科技孵化平台”转型。
【3】满是氪金玩家
虽说在2025年上半年财报会议上,康迪将具身机器人、储能视为康迪未来发展的重要布局,并且与云深处、宁德时代等头部企业建立了合作。
但从专利技术储备和产品展示上,康迪给大众展现的则是,康迪是一家想要转型到储能和具身机器人领域的新手。
与康迪处在新手村不同,当前具身机器人和储能领域早已不是蓝海,而是进入技术、资本、产业链全方位竞争的白热化阶段。头部企业不仅已完成从核心技术到量产能力的闭环,更在品牌、渠道和生态合作上构筑起较高的行业壁垒。
据启信宝数据显示:截至2025年,储能产业共有828059家企业。这些企业分布式光伏发电、电线电缆、电力电子元器件、变压器、隔膜、储能电池等多个核心产业环节,而仅深圳一座城市,其储能相关产业链企业就多达7000多家,其中上市公司51家。
同样的情况也出现在具身机器人领域,《新黄河》报道显示:中国人形机器人整机平台超过160家,占据全球50%以上,另外还有涵盖减速器、关节轴承、滑动轴承、灵巧手模块及微型传动系统在内的核心零部件供应链企业逾600家。

(来源:互联网)
从这些数据中,我们不难看到,不论是具身机器人还是储能,都已经迈入到产业成熟期,欠缺的只是临门一脚,应用终端的大规模推广。
其实对于康迪来说,正面投身储能、具身智能机器人并非最理智的选择。
从目前市场状况和自身优势来看,康迪应该选择从细分场景切入——如高尔夫球场景观巡检、换电设施运维等,这是一条务实路径。但这同样要求企业具备极强的场景理解与定制化能力,而这恰恰是很多从硬件制造转型的企业所欠缺的。
2025年初,董事长董学勤提出“中国智造出海需完成三级跳”的观点,即品牌出海、智造出海、生态出海,康迪将成为“中国技术出海的摆渡人”。
总结而言,康迪布局具身机器人与储能的战略方向具备前瞻性,但能否从“参与者”成长为“重要玩家”,仍需突破技术储备不足、产业链话语权弱、市场竞争激烈三重挑战。
目前来看,3台机器人的订单是一个起点,但远不足以支撑其产业化未来。康迪是否已晚?答案或许是:窗口仍在,但时间不多了。
END

投稿合作:Jack
Tel:17316757969
VX:fqf_1020
商业合作:Navy
Tel:15001379985
VX:lv547483820
免责声明:所有平台仅提供服务对接功能,资讯信息、数据资料来源于第三方,其中发布的文章、视频、数据仅代表内容发布者个人的观点,并不代表泡财经平台的观点,不构成任何投资建议,仅供参考,用户需独立做出投资决策,自行承担因信赖或使用第三方信息而导致的任何损失。投资有风险,入市需谨慎。
请先登录后发表评论