
文|恒心
来源|博望财经
近日,据《DoNews》等多家媒体报道指出,国产美妆品牌谷雨多款产品以“抗老”为核心卖点进行宣传,但这一功效并未列入国家药品监督管理局《化妆品功效宣称分类目录》的26类合规功效之中。

更令人担忧的是,这种“大字吸睛,小字免责”的宣传策略并非孤例,而是伴随着品牌从诞生到冲刺IPO的全过程。
早在2025年3月,谷雨就与中信建投证券签署上市辅导协议,正式启动A股IPO进程,剑指“国产美白第一股”的桂冠。
公开数据显示,这家成立于2016年的品牌在短短数年间实现了惊人的增长:2021年至2023年销售额从10亿元跃升至35亿元,2024年GMV突破50亿元,营收约40亿元。在国货美妆资本化浪潮中,谷雨凭借“光甘草定”这一核心成分和精准的线上营销策略,迅速跻身行业前列,2025年1月甚至超越欧莱雅跻身抖音美妆总榜前三。
然而,就在资本市场为其亮眼业绩喝彩的同时,一场关于功效宣称的合规争议正悄然发酵。
在监管持续趋严的背景下,谷雨的IPO之路是否会因合规问题而受阻?高速增长的背后,又隐藏着怎样的风险与隐忧?
01
合规雷区:“抗老”宣传与监管红线的正面冲突
根据《化妆品监督管理条例》及《化妆品分类规则和分类目录》,化妆品功效宣称必须严格对应备案/注册的分类编码;宣称新功效须经注册并提供充分科学依据。目前国家药监局明确列出的26类合规功效中,包含“抗皱”“紧致”“保湿”等,但“抗老”“抗衰”“抗初老”等表述均不在其中。这意味着,任何宣称“抗老”的普通化妆品,都缺乏合规依据。

然而,谷雨的营销实践却与这一监管框架形成了鲜明对比。
据多家媒体报道,谷雨品牌多款产品以“抗老”为核心卖点进行宣传,包括极光山参抗皱紧致淡纹美白水乳、山参水霜次抛套组小样及面膜等,均标注适用“25岁以上有抗老需求人群”或宣称“增效抗老”。其官网设有“山参胶原抗老系列”专区,并于2025年9月起多次联合女明星秦岚开展抗老主题直播与短视频推广,文案直称“谷雨山参抗老套组”“拒绝破坏式抗老”。
面对消费者咨询,谷雨客服明确回应产品“可以抗老”,强调主打抗皱紧致与美白淡斑功效。但在产品页面底部,品牌以小字注明:“抗老/更年轻指的是对抗肌肤初老现象,本品具有紧致、抗皱、保湿功效,故宣称抗老。”

这种“用抗皱、紧致功效反向推导出抗老功效”的逻辑,看似自圆其说,实则经不起推敲。据《颜值风云》报道,化妆品违禁词网创办人李锦聪指出,皮肤衰老受多重因素影响,单一的抗皱或紧致机理根本无法支撑“抗老”这一宽泛且绝对化的宣称。使用“抗老”一词,极易引人误解,涉嫌虚假宣传。

对于正处于IPO关键期的谷雨而言,这场争议来得格外敏感。
资本市场对拟上市企业的审视,不仅看营收规模和增长速度,更看重合规性与可持续经营能力。谷雨以“国产美白第一股”的标签冲击A股,其核心定位本是“美白”,却在营销中大张旗鼓地宣传“抗老”——这一既不在官方目录内、又缺乏备案支撑的功效。
这种“挂着羊头卖狗肉”的操作,不仅可能误导消费者,更可能成为监管问询的焦点。
02
商业模式隐忧:单一渠道依赖与产品结构失衡
谷雨的成功很大程度上得益于其对线上渠道的深度布局。
据公开数据显示,2024年谷雨线上营收占比高达93%,主要来自天猫、抖音等平台,线下占比仅为7%。这种高度集中的渠道结构虽然帮助品牌在短期内实现了快速增长,但也埋下了诸多隐患。
首先,过度依赖线上渠道意味着品牌对平台算法的变化极为敏感。抖音、小红书等内容平台的流量分配机制不断调整,一旦算法变更或平台政策收紧,品牌的获客成本和销售稳定性将面临巨大挑战。
其次,线上渠道的竞争日趋白热化,流量成本不断攀升。谷雨虽然通过绑定“光甘草定”成分、反复渗透“美白”概念实现了差异化定位,但随着更多品牌加入这一赛道,其营销效率可能逐渐下降。

更为重要的是,线上渠道的局限性限制了品牌的长期价值构建。化妆品作为体验型消费品,线下渠道的触觉、嗅觉体验以及专业BA(美容顾问)的服务是建立品牌忠诚度的重要环节。谷雨虽然已开始拓展线下,截至2024年覆盖屈臣氏、KKV等超过2万个线下终端零售网点,但7%的线下占比仍显薄弱。缺乏线下体验支撑的品牌,往往难以构建深厚的品牌护城河。
谷雨的另一大隐忧在于产品结构的单一性。
据《新快报讯》报道,目前谷雨的主要营收来源为主品牌谷雨,2024年6月才新推抗老修护功效护肤品牌粹律ReGreen。然而,新品牌的试水效果并不理想。飞瓜数据显示,粹律ReGreen在2024年10月开始试水抖音,首月销售额不到1万元,后续两个月(11-12月)不到10万元。

这种“大单品依赖症”在美妆行业并不罕见,但却蕴含着巨大风险。
一方面,消费者的偏好和市场趋势不断变化,过度依赖单一产品或成分的品牌容易受到市场波动的冲击。另一方面,当核心产品的增长遇到瓶颈时,缺乏有力的第二增长曲线将直接影响公司的估值逻辑。
此外,在黑猫投诉平台上,截止2026年3月15日,与谷雨有关的投诉关键词高达上千条,投诉对象为谷雨护肤,涉及“过敏”“异物”“发霉”“服务态度差”等。这些投诉虽然不能代表全部消费者的体验,但却反映了品牌在快速扩张过程中可能存在的品控和服务问题。

对于主打“美白”“抗老”等功能性诉求的品牌而言,产品质量和安全性的重要性不言而喻。一旦出现大规模的产品质量问题,不仅会导致销售下滑,更可能引发品牌信任危机,甚至招致监管部门的调查和处罚。
03
资本市场前景:IPO之路的合规拷问与估值挑战
谷雨选择以“国产美白第一股”的标签冲击A股,这一战略定位本身具有明显的资本吸引力。在“标签为王”的资本市场,细分赛道的“第一股”往往能获得更高的关注度和估值溢价。
2025年美妆企业扎堆冲刺资本市场:谷雨、林清轩、自然堂等头部品牌争相上市,珈凯生物、维琪科技等原料商也纷纷进场。然而,热闹之下,资本的筛选机制已然显现残酷底色。
2025年全年成功登陆资本市场的美妆企业寥寥无几,多数企业仍停留在辅导或递表阶段,资本市场对美妆企业的价值判断正日趋严苛。对于谷雨而言,其估值逻辑将面临多重考验:
首先,盈利能力的不确定性。虽然2024年GMV数据亮眼,但GMV只是商品销售情况,不能代表其实际营收与净利润。谷雨尚未递交招股书,未披露财务细节。在过度依赖线上渠道、营销投入巨大的背景下,其真实的盈利能力存疑。
其次,增长可持续性的质疑。92.7%的三年复合增长率固然惊人,但这种高增长能否持续?随着基数扩大、竞争加剧,增长放缓几乎是必然趋势。资本市场更看重的是长期可持续的增长能力,而非短期爆发。
对于拟上市企业而言,合规性是监管审核的重中之重。谷雨在功效宣称上的合规问题,很可能成为其IPO路上的“拦路虎”。
从审核实践来看,证监会对拟上市企业的合规性审查日益严格。特别是对于消费品企业,产品质量、广告宣传等方面的合规记录是审核的重点关注领域。谷雨目前存在的“抗老”宣传与备案不符的问题,不仅涉嫌违反《化妆品监督管理条例》,还可能构成《广告法》意义上的虚假宣传。
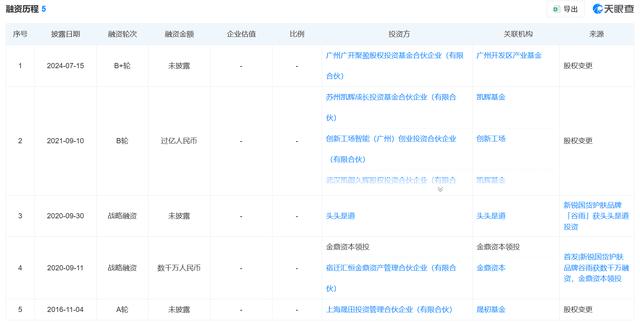
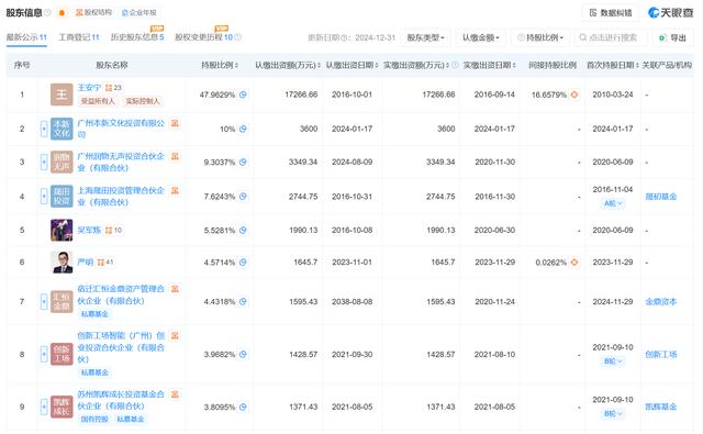
此外,谷雨的股权结构也引发关注。据天眼查显示,谷雨拿到过5笔融资,投资方包含创新工场、凯辉基金等“顶流”VC/PE。

股权结构上,创新工场、凯辉基金确实为谷雨股东。创新工场持股约3.97%,控股股东为王安宁,直接持有约47.96%的股权。

这种高度集中的股权结构虽然有利于决策效率,但也可能引发公司治理方面的担忧。
结论
谷雨的IPO征程,恰逢国货美妆资本化浪潮的高峰期,也正值行业监管趋严的转折点。
这家凭借线上渠道红利和精准营销迅速崛起的品牌,正站在资本市场的大门前,接受着合规性与可持续性的双重拷问。
在监管持续趋严、消费者日益理性的市场环境中,只有那些坚守合规底线、专注产品创新、构建长期价值的企业,才能在资本的起伏中穿越周期,真正实现从“资本宠儿”到“行业标杆”的蜕变。谷雨的IPO之路,不仅是对其自身的一次大考,也将为整个国货美妆行业的资本化进程提供重要镜鉴。
至于谷雨未来如何发展,博望财经将持续关注。
免责声明:所有平台仅提供服务对接功能,资讯信息、数据资料来源于第三方,其中发布的文章、视频、数据仅代表内容发布者个人的观点,并不代表泡财经平台的观点,不构成任何投资建议,仅供参考,用户需独立做出投资决策,自行承担因信赖或使用第三方信息而导致的任何损失。投资有风险,入市需谨慎。

迁址公告
古东管家APP
关于我们
请先登录后发表评论